超高效节能降碳低氮燃烧技术

来源项目
国家鼓励发展的重大环保技术装备目录(2023年)
技术分类
大气污染防治-工业烟气
适用对象及范围
技术应用于天然气、炼油石化气、钢铁产煤气三大燃气领域:应用范围宽广,包括石化、天然气发电、钢铁高炉煤气发电、石油开采、陶瓷 、钢铁生产、陶瓷加工业、有色金属加工业、冶金、精细化工、水泥、玻璃、锅炉、印染、橡胶、化肥、石灰、钛白粉、塑料等行业。

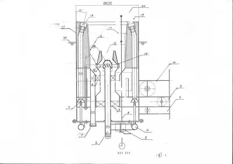
基本原理

采用全预混梯度方式燃烧,可实现在低氮排放的情况下,实现10%-30%以上的高效节能降碳。 利用燃气的动能(㶲效率)使燃气和空气事先按段很好混合燃烧,降低尾气的氧含量,采用高温回流技术和预热技术,增加燃烧热量的传递速度,使得燃烧口喷出的高温流速可达200-300m/s,使得炉内热量均匀,增加热交换率,降低排烟温度,减少氧含量,缩短氮和氧结合时间,达到节能减排目的。

技术描述(创新点及优势)

该技术装备的高效节能降碳,并同时低氮排放的性质,可广泛替代目前的低氮燃烧器,实现高效节能降碳,并低氮排放。根据前期的市场调研,目前在上述三大领域中,天然气、钢铁煤气、石化气三大领域。采用全预混梯度方式燃烧,可实现在低氮排放的情况下,实现高效节能降碳。这种将低氮排放与高效节能合二为一的技术,成功地解决了低氮排放与高效燃烧的矛盾。

应用案例名称

浙江今飞控股集团 保温炉、熔炼炉技术改造项目

案例地址

浙江省今飞市

案例规模

保温炉、熔炼炉更换95台北京中宇先创能源科技有限公司的高效低氮节能燃烧器。

项目投运时间

2018年5-10月

验收情况

已验收

工艺流程

分段精密配风调节火焰达到最佳风燃比,火焰稳定,负荷变化<40%时,热效率不变。由于利用了燃气的动能产生的负压,使得燃气设备自身调控增加,减少供风设备的风量,可节电5%,燃烧过程中过剩氧很低,减少对内体的氧化作用。在熔铝生产中,每10吨铝液可减少200KG的氧化铝,使得综合节能有了很大提高。

污染防治效果和达标情况

减少NOX排放 31.33吨/年。年经济效益4167万元, 投资回收期49天。

二次污染治理情况

无二次污染

能源、资源节约和综合利用情况

节能率为27.59% 每年节天然气 1539万M3 节能折合标吨煤TCE:18690吨标准煤 减少CO2 排放 32165吨/年 年经济效益4167万元 投资回收期49天。

投资费用

项目总投资616.12万元。

运行费用